* Campos necesarios
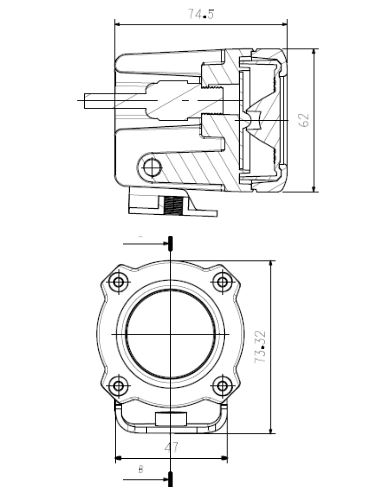
COMPATIBILIDAD ELECTRO MAGNÉTICA MATERIAL CARCASA: Aluminio. HOMOLOGACIÓN ECE, R10. LED:1cs. 900 LM 10W VOLTAJE: 12-24V TAMAÑO: 62x62x75mm IP: IP69